Чоң-Алайда мыйзамсыз менчиктештирилген 2 жер тилкеси мамлекетке кайтарылды

Аймак Загрузка... 30 Апрель 2025 17:21
{{item.title }}
{{item.title }}
{{item.title }}
Next
Previous
Next
Previous
copyright icon Улуттук коопсуздук мамлекеттик комитети

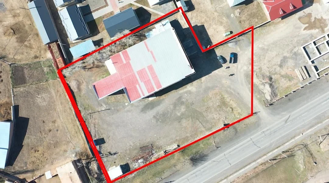
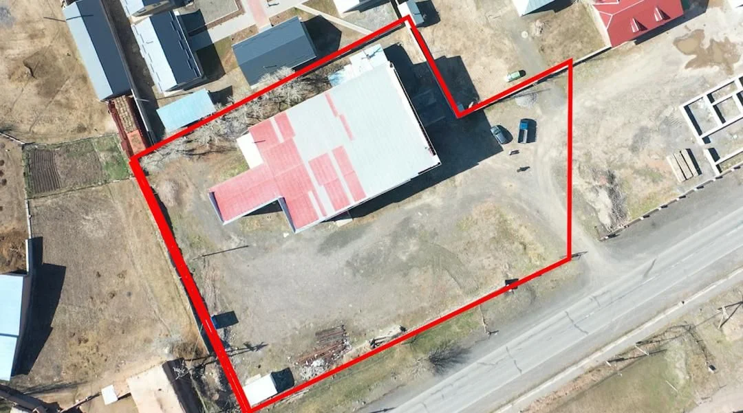
Бишкек, 30.04.25. /Кабар/. Чоң-Алай районундагы мыйзамсыз менчиктештирилген 2 жер тилкеси мамлекеттин балансына кайтарылды. Бул тууралуу УКМКдан билдиришти.

Мыйзамсыз менчиктештирилген жер тилкелерин аныктоого багытталган ыкчам-иликтөө иш-чараларынын жүрүшүндө КР УКМК тарабынан 0,45 жана 0,17 га болгон эки жер тилкеси мамлекеттин балансына кайтарылды.

Алсак, 2004-жылы уюшкан кылмыштуу топтун активдүү мүчөсү А.А Ош облусунун Чоң-Алай районунун жергиликтүү өз алдынча башкаруу органдарына кысым көрсөтүп, мыйзамсыз түрдө 0,45 га жер тилкеси менен эки кабаттуу имаратты ээлеп алып, 2009-жылы 1536,99 м2 аянтты ээлеген "А" ресторан комплексин куруп алган.

Ошол эле учурда 1999-жылдын май айында Чоң-Алай райондук мамлекеттик администрациясынын айрым кызмат адамдары Дароот-Коргон айылынын борборундагы 0,17 гектар жер тилкесин мыйзамсыз түрдө жеке менчикке өткөрүп беришкен. Учурда аталган жер тилкесинин ээси болуп саналган К.Э. аттуу жаран жер тилкесин өз ыктыяры менен мамлекеттин балансына өткөрүп берди.

УКМК мыйзамсыз менчиктештирилген мүлктөрдү аныктоо жана мамлекеттин балансына кайтаруу боюнча ишин улантууда.